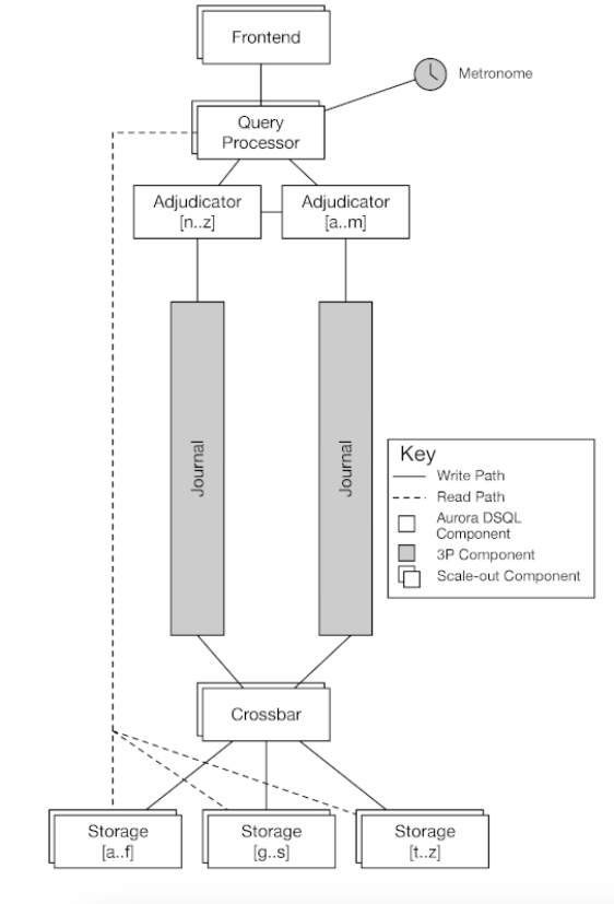
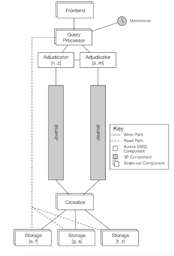
오랜만에 제가 좋아하는 데이터베이스 분야에서 신기술이 나왔습니다. 처음엔 영상으로 접했는데 그냥 AWS에서 신기술 냈구나 정도로 생각했지만 계속 영상을 보면서 흥미를 가질 수 밖에 없었습니다. Serverless RDBMS라고? 이게 무슨 혼종이지? 싶었죠. 오늘은 AWS Aurora의 후속 버전, 클라우드 데이터베이스의 미래 AWS Aurora DSQL에 대해서 공부한 내용을 정리해보는 포스팅을 작성해보려고합니다. AWS의 클라우드 데이터베이스 역사AWS는 처음엔 RDS를 선보였습니다. 이는 단순히 오픈소스로 되어있는 데이터베이스 엔진을 이용해서 RDBMS를 구축한 것에 불과했죠. AWS RDS를 시작으로 점점 사용자들은 다양한 니즈가 생기기 시작했습니다. 2009년에 RDS가 선보인 것을 시작으..
                           
                        
 
                         
                         
                        