DevOps/AWS 17

클라우드 데이터베이스의 미래 AWS Aurora DSQL

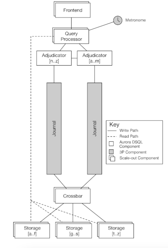
오랜만에 제가 좋아하는 데이터베이스 분야에서 신기술이 나왔습니다. 처음엔 영상으로 접했는데 그냥 AWS에서 신기술 냈구나 정도로 생각했지만 계속 영상을 보면서 흥미를 가질 수 밖에 없었습니다. Serverless RDBMS라고? 이게 무슨 혼종이지? 싶었죠. 오늘은 AWS Aurora의 후속 버전, 클라우드 데이터베이스의 미래 AWS Aurora DSQL에 대해서 공부한 내용을 정리해보는 포스팅을 작성해보려고합니다. AWS의 클라우드 데이터베이스 역사AWS는 처음엔 RDS를 선보였습니다. 이는 단순히 오픈소스로 되어있는 데이터베이스 엔진을 이용해서 RDBMS를 구축한 것에 불과했죠. AWS RDS를 시작으로 점점 사용자들은 다양한 니즈가 생기기 시작했습니다. 2009년에 RDS가 선보인 것을 시작으..

DevOps/AWS 2025.07.08

AWS SQS, SNS

이번에 공부한 것은 AWS SQS인데 SQS를 공부하려면 SNS도 같이 공부할 수 밖에 없더라구요.  이번 포스팅에선 AWS SQS와 SNS를 전체적으로 훑어보면서 다른 메세지 브로커와 어떤 점이 다른지 공부해보고 정리했습니다.  AWS SQS만 가지는 강력한 특징SQS는 Simple Queueing Service (이하 SQS) 의 약자로 메세지를 큐에 담아서 보내는 여타 메세지 브로커와 비슷합니다. 하지만 SQS가 메세지 브로커냐? 하면 SQS만으로는 메세지 브로커라고 하기 조금 애매할 것 같습니다.  왜냐하면 SQS는 정말 말 그대로 메세지 큐잉 서비스이기 때문입니다. 여타 전통적인 메세지 브로커들처럼 Pub/Sub 구조를 가지고 있지 않다는 얘기입니다.  이게 왜 메세지 브로커와 다르냐면 SQS는..

DevOps/AWS 2024.07.30

클라우드는 어떻게 대세가 되었는가

클라우드는 지난 10년동안 개발자들의 삶에 깊숙히 녹아들었습니다. 이번 포스팅에선 클라우드로 개발되지 않은 환경을 찾는게 힘들게 될 정도로 깊숙히 자리잡은 배경에 대해서 공부한 내용을 공유해보고자합니다. 클라우드의 특징클라우드의 특징은 크게 성능, 확장성, 가용성, 같은 클라우드 서비스간 통합 이렇게 네가지 키워드로 정리해볼 수 있을 것  같습니다. 하나씩 살펴볼까요?  성능클라우드가 성능을 논하는게 이상하다고 느끼실 수도 있을 것 같습니다. 보통 클라우드를 떠올리면 확장성과 가용성을 먼저 떠올리곤 하니까요.  하지만 클라우드를 이용함으로써 일반적으로 따로 구성하는 것 보다 더 높은 성능을 끌어올릴 수 있습니다.  1. 하드웨어 최적화클라우드는 하드웨어를 관리해주다보니 해당 서비스에 최적화된 하드웨어를 ..

DevOps/AWS 2024.07.05

AWS로 3 Tier Architecture 고도화하기

이번 포스팅에선 AWS를 다채롭게 사용하여 대부분의 웹을 이루고 있는 3티어 아키텍처를 고도화하는 과정을 포스팅해보도록 하겠습니다.   3 Tier Architecture3계층 구조라고도 불리는 이 아키텍처는 현재 대부분의 웹의 구조입니다.  이 3티어 아키텍처 말고도 1티어 2티어도 있는데 그냥 티어라는 것은 "서버를 물리적으로 분리했다"라고 생각하시면 됩니다.  1티어 2티어 아키텍처에 대한 내용은 구글링하시면 쉽게 접할 수 있는 내용이기 때문에 이번 포스팅에선 넘어가도록 하겠습니다. 저는 3티어 아키텍처만 집중적으로 파보겠습니다.  클라이언트 계층흔히 정적 데이터(html, css, js, image)들이 들어가있는 계층으로서 3티어 아키텍처에선 주로 웹서버가 이 자리를 차지하고 있습니다.  웹에선..

DevOps/AWS 2024.05.25

Elastic Load Balancer (ELB) : (2)

앞선 포스팅과 이어지는 내용입니다. https://coding-review.tistory.com/460 Elastic Load Balancer (ELB) : (1) 이번 포스팅에선 AWS의 핵심 시스템 중 하나인 Elastic Load Balancer 줄여서 ELB에 대해서 알아보도록 하겠습니다. ELB는 개발자에게 그리고 AWS에게도 빠질 수 없는 중요한 시스템인데요. 만약 개발자에 coding-review.tistory.com 우리는 인스턴스를 생성했고 로드밸런서를 생성했으며 타겟그룹까지 생성했고 로드밸런서에 타겟그룹을 라우팅하는 작업까지 끝났습니다. 근데 이러고 보니까 조금 문제가 있습니다. 바로 사용자가 로드밸런서에 접근할 때마다 새로운 애플리케이션으로 연결해주는데 로그인을 했는데도 로그인이 풀려..

DevOps/AWS 2023.10.13

Elastic Load Balancer (ELB) : (1)

이번 포스팅에선 AWS의 핵심 시스템 중 하나인 Elastic Load Balancer 줄여서 ELB에 대해서 알아보도록 하겠습니다. ELB는 개발자에게 그리고 AWS에게도 빠질 수 없는 중요한 시스템인데요. 만약 개발자에게 "AWS에서 제공하는 로드밸런서의 기능을 직접 구현해라"라고 하면 구현하는 것도 만만치 않은데다 유지보수 하는것도 쉽지 않을 것입니다. 또한, 기껏 직접 로드밸런서를 만들었다고 하더라도 다른 시스템과 연동하는건 또 다른 이야기이죠. 이 로드밸런서를 각각의 애플리케이션과 연결하고 관리하는건 개발자로 하여금 막대한 기술부채를 안겨다주죠. AWS도 ELB라는 구현하기 쉽고 유지보수하기 쉬운 시스템을 내면서 다양한 AWS의 시스템과 ELB를 연동시킬 수 있게 함으로써 더욱 다양한 AWS의 ..

DevOps/AWS 2023.10.13

EC2 인스턴스 스토리지 (EBS, EFS)

이번 포스팅에선 EC2의 저장공간에 대해서 알아보도록 하겠습니다. 이번 포스팅은 실습보다는 이론 위주로 공부한 것을 정리해보도록 하겠습니다 (비용이 무서워서...) AWS의 핵심 기능 중 하나인 EC2의 저장공간 역할을 하는 인스턴스 스토리지는 데스크탑으로 치면 하드디스크에 해당합니다. 하지만 데스크탑과 다른 점은 클라우드 상에서 벌어지는 일인만큼 하드디스크에 접근하기 위해서는 네트워크 I/O가 있어야 한다는 점입니다. 그래서 실제 데스크탑에 물리적으로 연결되어 있는 하드디스크 (HDD, SSD, NVMe) 보다는 속도가 떨어집니다. 하지만 유연하게 저장공간을 설정할 수도 있고 성능도 원한다면 얼마든지 커스텀할 수 있습니다. 이제 본격적으로 EC2 인스턴스 스토리지에 대해서 알아보도록 하죠! EC2란? ..

DevOps/AWS 2023.10.10

AWS S3

만약 애플리케이션에서 파일 업로드와 다운로드를 구현할 때 한번쯤 고려해보는 시스템이 바로 S3입니다. S3란 세개의 S를 말하는데요 Simple Storage Service 이렇게 S3입니다 (갑자기 꽃보다 남자의 F4가 생각나네요). S3는 그냥 단순하게 클라우드 저장소라고 보면 되는데 구글 드라이브와 다르지 않습니다. 하지만 구글 드라이브와는 다르게 S3는 단순한 저장소 이상으로 다양하게 사용할 수 있습니다. 이번 포스팅에선 S3를 다양하게 사용할 수 있는 방법에 대해서 알아보고 직접 S3를 만들어보고 업로드까지 해보는 시간을 가져보겠습니다. 1. 단순하게 저장소로 사용하는 방법 그냥 단순하게 저장소로 사용하는 방법입니다. 아주 심플하고 간단하죠. 클라우드처럼 저장해놓고 꺼낼 때 꺼내는 방법입니다. ..

DevOps/AWS 2023.08.14

AWS IAM

프로젝트를 진행하면서 AWS에 접근하기 위해서 IAM이라는 것을 설정해본 기억이 한번쯤 있으실 것입니다. IAM은 별 내용이 없어서 지나치기 쉽지만 꽤 심오한 내용을 담고 있었습니다. 이번 포스팅에선 AWS의 권한 책임자 IAM에 대해서 알아보고 직접 만들어보기까지 해보도록 하겠습니다. IAM AWS IAM은 Identity and Access Management의 약자로 IAM은 AWS의 서비스나 자원을 안전하게 접근하도록 관리해주는 서비스입니다. IAM을 사용하면 AWS 유저나 그룹을 생성하고 관리할 수 있으며 AWS 자원에 접근하거나 제한하는 권한을 사용할 수 있습니다. 즉, 인가와 비슷하다고 볼 수 있는데요. 어떤 유저에게는 어떤 서비스는 이용할 수 있고, 어떤 서비스는 이용할 수 없도록 막는 인..

DevOps/AWS 2023.08.14

AWS EC2 용량 부족할 때 대처법

프로젝트를 진행하다가 EC2 용량이 꽉차서 조금 당황했습니다. 어라.. 미디움이면 충분하다고 했는데... 네 생각보다 많은 이미지와 꽤 큰 프로젝트 용량 덕분에 용량이 다 차버려서 진행이 안됐습니다. 때문에 구글링한 결과를 공유하려고 합니다. EC2 용량 부족시 해결법 먼저 용량이 얼마나 남았는지를 봅니다. 7.6기가가 꽉 찼네요. EC2 인스턴스에 들어가서 인스턴스 클릭 후 스토리지를 클릭합니다. 볼륨 ID를 클릭해주고 볼륨을 우클릭 후 수정 후 원하는 사이즈로 적습니다. lsblk 명령어를 치면 xva 스토리지는 12기가로 늘어났지만 우리가 사용하는 xvda1 섹션이 아직 7.9기가입니다. 이걸 늘려줘야합니다. 위의 명령어를 치시구요. 이렇게 치면? 짠 Size가 12기가로 늘어났습니다. 여기까지 E..

DevOps/AWS 2023.06.16